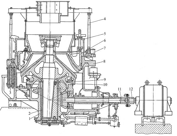
Механизм поворота 1277.09.500 СБ входит в сборку дробилки КМД-Гр 1278.00-10СБ, которая состоит из:
|
Поз.№ |
Наименование |
Обозначение/ Исполнение |
Кол-во на сборочную единицу |
|
4 |
Устройство загрузочное |
1277.12.500 СБ |
1 |
|
6 |
Кольцо регулирующее |
1278.07.300-2СБ |
1 |
|
9 |
Конус дробящий |
1277.05.400 СБ |
1 |
|
1 |
Часть нижняя |
1277.01.300-1СБ |
1 |
|
2 |
Эксцентрик |
1277.03.300 СБ |
1 |
|
3 |
Пакет пружин |
1277.10.400 СБ |
12 |
|
5 |
Кожух |
1277.08.400 СБ |
1 |
|
7 |
Механизм поворота |
1277.09.500 СБ |
1 |
|
8 |
Кольцо опорное |
1277.06.300 СБ |
1 |
|
10 |
Чаша опорная |
1277.04.300 СБ |
1 |
|
11 |
Вал приводной |
1277.02.300-1 СБ 1277.02.300 СБ |
1 |
|
12 |
Муфта упругая |
1277.13.300-1 СБ |
1 |
Механизм поворота 1277.09.500 СБ входит в сборку дробилки КМД-Т 1277.00-10СБ, которая состоит из:
|
Поз.№ |
Наименование |
Обозначение/ Исполнение |
Кол-во на сборочную единицу |
|
4 |
Устройство загрузочное |
1277.12.500 СБ |
1 |
|
6 |
Кольцо регулирующее |
1277.07.300-2СБ |
1 |
|
9 |
Конус дробящий |
1277.05.400 СБ |
1 |
|
1 |
Часть нижняя |
1277.01.300-1СБ |
1 |
|
2 |
Эксцентрик |
1277.03.300 СБ |
1 |
|
3 |
Пакет пружин |
1277.10.400 СБ |
12 |
|
5 |
Кожух |
1277.08.400 СБ |
1 |
|
7 |
Механизм поворота |
1277.09.500 СБ |
1 |
|
8 |
Кольцо опорное |
1277.06.300 СБ |
1 |
|
10 |
Чаша опорная |
1277.04.300 СБ |
1 |
|
11 |
Вал приводной |
1277.02.300-1 СБ 1277.02.300 СБ |
1 |
|
12 |
Муфта упругая |
1277.13.300-1 СБ |
1 |


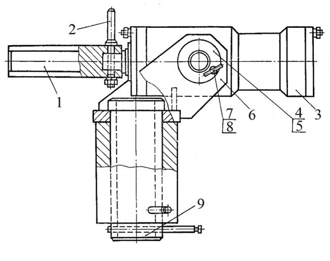
Механизм поворота КМД-КСД-1750 1277.09.500 СБ состоит из:
|
Поз.№ |
Наименование |
Обозначение/ Исполнение |
Кол-во на сборочную единицу |
|
3 |
Гидроцилиндр |
1277.15.200СБ |
1 |

Чтобы приобрести понравившийся товар, необходимо его заказать. Есть несколько сценариев того, как это можно сделать.
- Выбрать понравившийся товар и нажать кнопку «Заказать». При оформлении заказа заполнить форму. Вписать информацию в поля: ФИО, телефон и e-mail. Затем вам перезвонит менеджер, чтобы подтвердить ваше согласие на совершение покупки.
- Выбрать понравившийся товар и нажать кнопку «В корзину». Затем перейти в корзину и нажать «Оформить заказ». Далее заполнить форму с контактными данными и отправить заявку. С вами свяжется менеджер для дальнейшего обсуждения.
- Перейти в карточку товара и нажать «Купить в один клик». После нажатия нужно заполнить форму и отправить заявку. С вами свяжется менеджер для дальнейшего обсуждения.
Оплата по реквизитам на расчетный счет
Самовывоз в г. Орск
Орск, Оренбургская область, г.Орск, ул. Металлистов, 11
Цена
Бесплатно
График работы
Пн-Пт 9:00 - 17:00 ; Сб, Вс выходные

