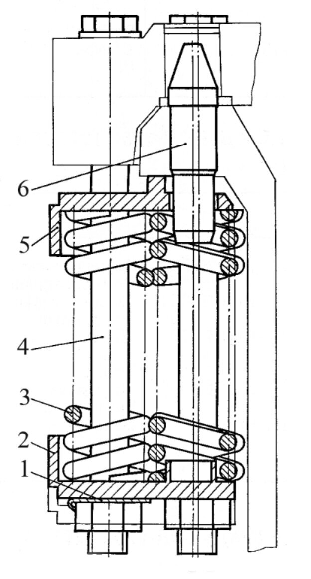
Сегмент верхний 1275.10.307-1 СБ входит в сборку пакета пружин КМД-КСД-1750 1277.10.400 СБ, который состоит из:
|
Поз.№ |
Наименование |
Обозначение/ Исполнение |
Кол-во на сборочную единицу |
|
2 |
Сегмент нижний |
1275.10.312СБ |
1 |
|
5 |
Сегмент верхний |
1275.10.307-1 СБ |
1 |
|
1 |
Планка стопорная |
1275.10.305 |
2 |
|
3 |
Пружина |
1275.10.303 |
5 |
|
4 |
Болт |
1277.10.301-1 |
4 |

Чтобы приобрести понравившийся товар, необходимо его заказать. Есть несколько сценариев того, как это можно сделать.
- Выбрать понравившийся товар и нажать кнопку «Заказать». При оформлении заказа заполнить форму. Вписать информацию в поля: ФИО, телефон и e-mail. Затем вам перезвонит менеджер, чтобы подтвердить ваше согласие на совершение покупки.
- Выбрать понравившийся товар и нажать кнопку «В корзину». Затем перейти в корзину и нажать «Оформить заказ». Далее заполнить форму с контактными данными и отправить заявку. С вами свяжется менеджер для дальнейшего обсуждения.
- Перейти в карточку товара и нажать «Купить в один клик». После нажатия нужно заполнить форму и отправить заявку. С вами свяжется менеджер для дальнейшего обсуждения.
Оплата по реквизитам на расчетный счет
Самовывоз в г. Орск
Орск, Оренбургская область, г.Орск, ул. Металлистов, 11
Цена
Бесплатно
График работы
Пн-Пт 9:00 - 17:00 ; Сб, Вс выходные

