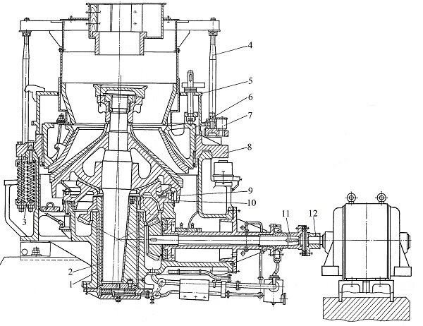
Механизм поворота 1275.09.700 СБ входит в сборку дробилки конусной КМД-2200 1275.00-17 СБ, которая состоит из:
|
Поз.№ |
Наименование |
Обозначение/ Исполнение |
Кол-во на сборочную единицу |
|
4 |
Устройство загрузочное |
1275.12.400 СБ |
1 |
|
6 |
Кольцо регулирующее |
1275.07.400-4СБ |
1 |
|
9 |
Конус дробящий |
1275.05.400СБ |
1 |
|
1 |
Часть нижняя |
1275.01.200СБ |
1 |
|
2 |
Эксцентрик |
1275.03.300-2СБ 1275.03.300СБ |
1 |
|
3 |
Пакет пружин |
1275.10.300-1СБ |
16 |
|
5 |
Кожух |
1275.08.200-2СБ |
1 |
|
7 |
Механизм поворота |
1275.09.700СБ |
1 |
|
8 |
Кольцо опорное |
1275.06.300-3СБ |
1 |
|
10 |
Чаша опорная |
1275.04.200-2СБ |
1 |
|
11 |
Вал приводной |
1275.02.200-1СБ 1275.02.200-4СБ |
1 |
|
12 |
Муфта упругая |
1275.13.300СБ |
|
Механизм поворота 1275.09.700 СБ входит в сборку дробилки конусной КМД-2200 1270.00-9 СБ, которая состоит из:
|
Поз.№ |
Наименование |
Обозначение/ Исполнение |
Кол-во на сборочную единицу |
|
4 |
Устройство загрузочное |
1275.12.400 СБ |
1 |
|
6 |
Кольцо регулирующее |
1270.07.300-1СБ |
1 |
|
9 |
Конус дробящий |
1270.05.200СБ |
1 |
|
1 |
Часть нижняя |
1275.01.200СБ |
1 |
|
2 |
Эксцентрик |
1275.03.300-2СБ 1275.03.300СБ |
1 |
|
3 |
Пакет пружин |
1275.10.300-1СБ |
16 |
|
5 |
Кожух |
1275.08.200-2СБ |
1 |
|
7 |
Механизм поворота |
1275.09.700СБ |
1 |
|
8 |
Кольцо опорное |
1275.06.300-3СБ |
1 |
|
10 |
Чаша опорная |
1275.04.200-2СБ |
1 |
|
11 |
Вал приводной |
1275.02.200-1СБ 1275.02.200-4СБ |
1 |
|
12 |
Муфта упругая |
1275.13.300СБ |
|

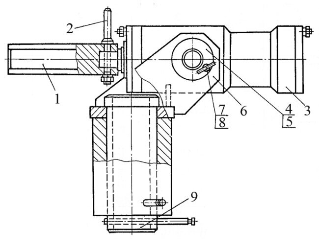
Механизм поворота КМД-КСД-2200 1275.09.700 СБ состоит из:
|
Поз.№ |
Наименование |
Обозначение/ Исполнение |
Кол-во на сборочную единицу |
|
3 |
Гидроцилиндр |
1275.09.701 СБ |
1 |
|
4 |
Цапфа правая |
1275.09.708 СБ |
1 |
|
5 |
Цапфа левая |
1275.09.708-1 СБ |
1 |
|
6 |
Опора |
1275.09.704 СБ |
1 |
|
1 |
Толкатель |
1275.09.718 |
1 |
|
2 |
Штырь |
1275.09.719 |
1 |
|
7 |
Стержень |
1275.09.713 |
1 |
|
8 |
Винт |
1275.09.714 |
1 |
|
9 |
Ось |
1275.09.715 |
|

Чтобы приобрести понравившийся товар, необходимо его заказать. Есть несколько сценариев того, как это можно сделать.
- Выбрать понравившийся товар и нажать кнопку «Заказать». При оформлении заказа заполнить форму. Вписать информацию в поля: ФИО, телефон и e-mail. Затем вам перезвонит менеджер, чтобы подтвердить ваше согласие на совершение покупки.
- Выбрать понравившийся товар и нажать кнопку «В корзину». Затем перейти в корзину и нажать «Оформить заказ». Далее заполнить форму с контактными данными и отправить заявку. С вами свяжется менеджер для дальнейшего обсуждения.
- Перейти в карточку товара и нажать «Купить в один клик». После нажатия нужно заполнить форму и отправить заявку. С вами свяжется менеджер для дальнейшего обсуждения.
Оплата по реквизитам на расчетный счет
Самовывоз в г. Орск
Орск, Оренбургская область, г.Орск, ул. Металлистов, 11
Цена
Бесплатно
График работы
Пн-Пт 9:00 - 17:00 ; Сб, Вс выходные

